




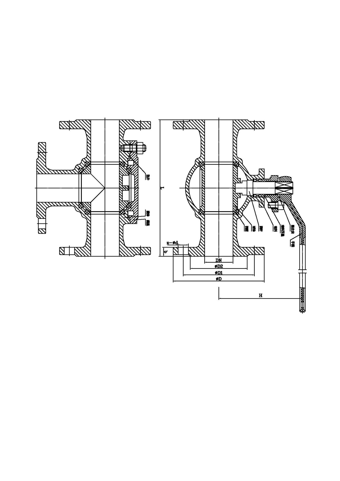
產品介紹:
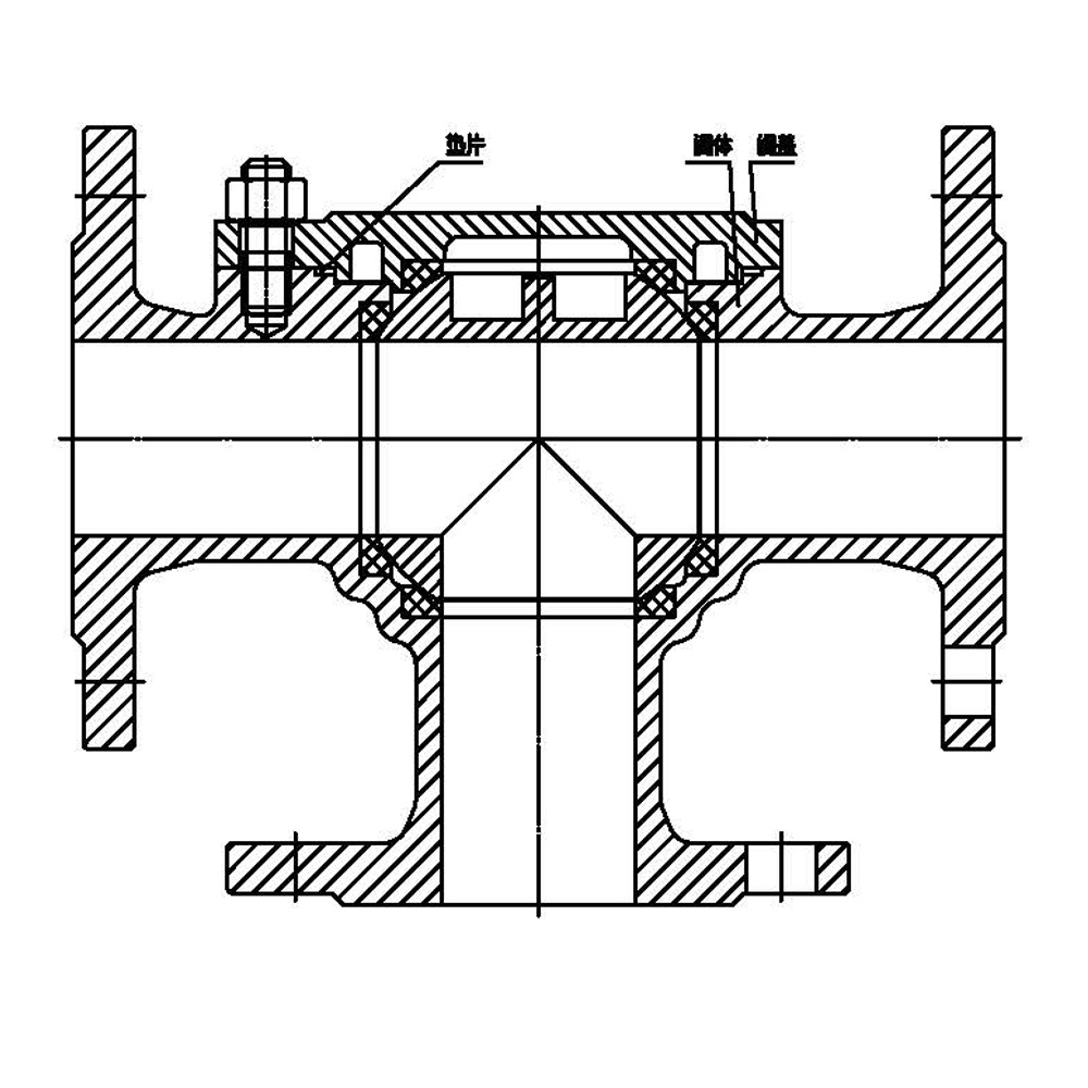
三通球閥我們知道有L型和T型兩種,可能很多朋友都知道這兩種球閥,或許大家知道是閥體內部閥芯的結構不同而已。T型能使三條正交的管道相互聯通和堵截第三條通道,起分流、合流作用。L型只能連接相互正交的兩條管道,不能同時保持第三條管道的相互連通,只起分配作用。
我們大家在使用三通球閥的時候,按照不同的情況,選擇不同的結構形式,T型球閥可以替代L型球閥。L型氣動三通球閥用于介質流向的切換,能使相互垂直的兩個通道連通。
T型氣動三通球閥不僅可實現介質流向的切換,也可使三個通道相互連通,同時也可關閉任一通道,使另外兩個通道連通,靈活控制管路中介質的合流或分流。